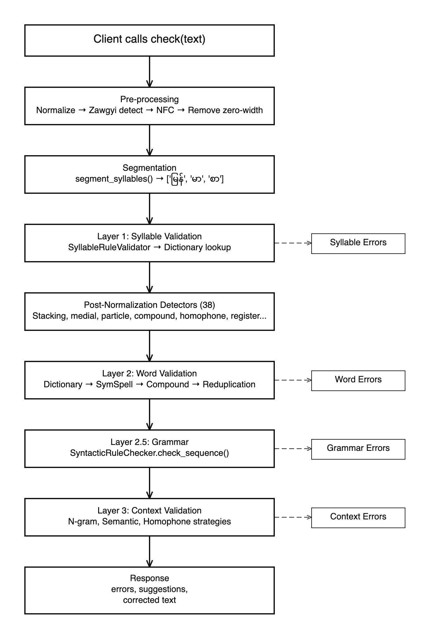
The following diagrams trace text through preprocessing, segmentation, multi-layer validation, and response assembly.Documentation Index
Fetch the complete documentation index at: https://docs.myspellchecker.com/llms.txt
Use this file to discover all available pages before exploring further.
Overview
The data flow follows: Input Text → Preprocessing → Validation → ResponseDetailed Data Flow
Error Flow Example

Batch Processing Flow

See Also
- Component Diagram - System components
- Architecture Overview - High-level design
- Extension Points - Customization options



